• Информируем вас, что с 1 января 2024 года оценки и расписание доступны в новой версии Электронного образования по адресу ms-edu.tatar.ru. В данной версии электронного дневника вы можете продолжать смотреть ранее полученные оценки.
    С более подробной информацией можно ознакомиться на сайте: info.edu.tatar.ru.

Электронное образование Республики Татарстан

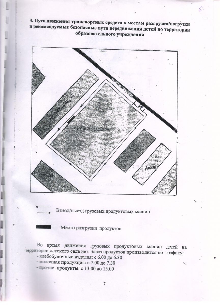
Муниципальное бюджетное дошкольное образовательное учреждение «Детский сад № 9 "Алёнка" Бавлинского муниципального района Республики Татарстан

Решаем вместе
Есть предложения по организации учебного процесса или знаете, как сделать школу лучше?

Визитная карточка

Адрес: 423930, Республика Татарстан, Бавлинский район, г. Бавлы, ул. Пионерская, д. 8
Телефон: +7(855)-695-35-10
E-Mail: Det.sad9.Bav@tatar.ru
Министерство: Министерство образования и науки Республики Татарстан
Короткое название: МБДОУ "Детский сад № 9 "Алёнка"
Руководитель: Зверева Регина Сагировна
Год основания учреждения: 1972
У нас учатся: 138 воспитанников ( иностранные граждане отсутствуют)
У нас учат: 14 педагогов